|
登録番号
|
1963
|
|
資料番号
|
23
|
|
名称
|
坏
|
|
るび
|
つき
|
|
種類
|
土師器
|
|
寸法
|
|
高さ
|
5.446
|
幅
|
6.772
|
奥行き
|
1.372
|
|
|
|
口径
|
0
|
重量
|
20
|
|
|
|
|
色調
|
|
内面色調
|
7.5YR8/4
|
外面色調
|
7.5YR8/4
|
胎土色調
|
7.5YR8/4
|
|
|
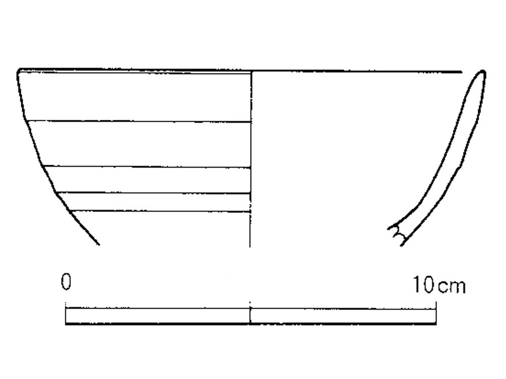
遺物観察
|
ロクロ成形の土師器の坏である。内面が黒色処理されず、調整はロクロ痕のみである。
|
|
出土状況
|
|
|
収蔵場所
|
|
|
備考1
|
|
|
備考2
|
|
|
備考3
|
|
|
修復記録
|
|
|
遺跡名
|
大向Ⅱ遺跡
|
|
遺構名
|
4号住居跡
|
|
出土層位
|
4号住居跡 埋土下位
|
|
調査年
|
1999
|
|
掲載報告書名
|
大向Ⅱ遺跡発掘調査報告書 主要地方道二戸市安代線関連遺跡発掘調査
|
|
掲載報告書登録番号
|
岩手県 埋文 No.407
|
|
報告書図面番号
|
P104 第67図 23
|
|
報告書写真図版番号
|
P223 写真図版49 23
|
|
※画像をクリックすると拡大画像が表示されます。
|
|
|
|
|
|
|